Werkstoff: Grauguss EN-GJL-250, phosphatiert.
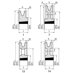
Keilriemenscheiben für Taper-Spannbuchsen, zur schnellen und einfachen Montage. Die Taper-Spannbuchse muss separat bestellt werden. In Anlehnung an DIN 2211 bzw. DIN 2217 bzw. ISO 4183, zur Verwendung mit klassischen Keilriemen DIN 2215 und Schmalkeilriemen DIN 7753-1 / ISO 4184. Der Nenndurchmesser D1 ist der Wirkdurchmesser.

1) Ø 63-67mm nicht für Keilriemen SPA und XPA.
2) Ø 71-85mm nicht für Keilriemen SPA.


Im Zuge der Sortimentserweiterung dieser Produktgruppe wurden neue Teilenummern vergeben. Hier erhalten Sie eine vollständige Übersicht der bisherigen und neuen Artikelnummern:

Übersicht Nachfolger Taper-Keilriemenscheiben

Service:

Katalogseite

Zusätzliche Informationen

Montageanleitung



Die angebotenen CAD-Daten, Abbildungen und technischen Zeichnungen werden mit größtmöglicher Sorgfalt erstellt.
Dennoch kann keine Gewährleistung für die Fehlerfreiheit und Genauigkeit dieser Daten übernommen werden.

( freibleibend aus Lagervorrat / kurzfristig lieferbar / Lieferzeit nach Vereinbarung. Bitte fragen Sie nach. )
Artikel Menge Bisherige ArtikelnummerRillen-AnzahlNenn-Ø D1
[mm]
Ø DA
[mm]
AusführungTaper-Buchse
[Nr.]
Bohrung
[mm]
E
[mm]
h
[mm]
J
[mm]
K
[mm]
L
[mm]
M
[mm]
N
[mm]
Gewicht ca.
[kg]
151-A-1-63
163 1)68,511008 9 - 25 -20--222560,28
151-A-1-67
167 1)72,511108 9 - 28 -20--222560,29
151-A-1-71
15310700171 2)76,511108 9 - 28 -20--222600,35
151-A-1-75
175 2)80,511108 9 - 28 -20--222560,42
151-A-1-80
15310800180 2)85,511210 10 - 32 -20--255750,48
151-A-1-85
185 2)90,511210 10 - 32 -20--255800,59
151-A-1-90
1531090019095,511210 10 - 32 -20--255800,67
151-A-1-95
195100,511210 10 - 32 -20--255850,77
151-A-1-100
153110001100105,511610 12 - 42 -20--255850,75
151-A-1-106
1106111,511610 12 - 42 -20--255920,92
151-A-1-112
153111001112117,511610 12 - 42 -20--255921,07
151-A-1-118
1118123,511610 12 - 42 -20--255921,22
151-A-1-125
153112001125130,511610 12 - 42 -20--255921,19
151-A-1-132
1132137,511610 12 - 42 -20--255921,59
151-A-1-140
153114001140145,511610 12 - 42 -20--255921,86
151-A-1-150
1150155,511610 12 - 42 -20--255922,15
151-A-1-160
153116001160165,511610 12 - 42 -20--255922,30
151-A-1-170
1170175,511610 12 - 42 -20--255922,08
151-A-1-180
153118001180185,5141610 12 - 42 620145-255922,20
151-A-1-190
1190195,5141610 12 - 42 620156-255922,30
151-A-1-200
153120001200205,5142012 12 - 50 620165-32121082,83
151-A-1-212
1212217,5142012 12 - 50 1020177-32121103,38
151-A-1-224
153122001224229,5142012 12 - 50 1020189-32121123,56
151-A-1-236
1236241,5142012 12 - 50 1020202-32121123,63
151-A-1-250
153125001250255,572012 12 - 50 102021563261123,64
151-A-1-280
153128001280285,5142012 12 - 50 1020245-32121124,04
151-A-1-300
1300305,5142012 12 - 50 1220265-32121124,37
151-A-1-315
153131001315320,5142012 12 - 50 1220280-32121124,43
151-A-1-355
1355360,5132012 12 - 50 -20320-32121125,62
151-A-1-400
1400405,5132012 12 - 50 -20365-32121125,82
151-A-1-450
1450455,5132012 12 - 50 -20415-32121127,26
151-A-1-500
1500505,5132517 15 - 65 -20465-45251249,27
151-A-1-630
1630635,5132517 15 - 65 -20595-452512413,91


zur Gruppe


Impressum AGB Hilfe Datenschutzerklärung Index


MÄDLER on Facebook Facebook MÄDLER on Youtube YouTube MÄDLER on Twitter Twitter MÄDLER on Instagram Instagram MÄDLER on Xingk Xing MÄDLER on Linkedin LinkedIn