Werkstoff: Grauguss EN-GJL-250, phosphatiert.
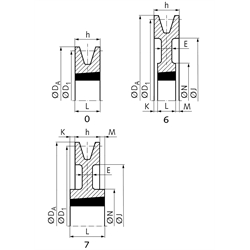
Keilriemenscheiben für Taper-Spannbuchsen, zur schnellen und einfachen Montage. Die Taper-Spannbuchse muss separat bestellt werden. In Anlehnung an DIN 2211 bzw. DIN 2217 bzw. ISO 4183, zur Verwendung mit klassischen Keilriemen DIN 2215 und Schmalkeilriemen DIN 7753-1 / ISO 4184. Auch verwendbar für Keilriemen 5V/15N nach ARPM/MPTA. Der Nenndurchmesser D1 ist der Wirkdurchmesser.

1) Ø 100-106mm nicht für Keilriemen SPB, XPP und 5V/15N.
2) Ø 112-132mm nicht für Keilriemen SPB und 5V/15N.


Im Zuge der Sortimentserweiterung dieser Produktgruppe wurden neue Teilenummern vergeben. Hier erhalten Sie eine vollständige Übersicht der bisherigen und neuen Artikelnummern:

Übersicht Nachfolger Taper-Keilriemenscheiben

Service:

Katalogseite

Zusätzliche Informationen

Montageanleitung



Die angebotenen CAD-Daten, Abbildungen und technischen Zeichnungen werden mit größtmöglicher Sorgfalt erstellt.
Dennoch kann keine Gewährleistung für die Fehlerfreiheit und Genauigkeit dieser Daten übernommen werden.

( freibleibend aus Lagervorrat / kurzfristig lieferbar / Lieferzeit nach Vereinbarung. Bitte fragen Sie nach. )
Artikel Menge Bisherige ArtikelnummerRillen-AnzahlNenn-Ø D1
[mm]
Ø DA
[mm]
AusführungTaper-Buchse
[Nr.]
Bohrung
[mm]
E
[mm]
h
[mm]
J
[mm]
K
[mm]
L
[mm]
M
[mm]
N
[mm]
Gewicht ca.
[kg]
151-B-1-100
155110001100 1)10701610 12 - 42 -25--25--0,80
151-B-1-106
1106 1)11301610 12 - 42 -25--25--0,912
151-B-1-112
155111001112 2)11901610 12 - 42 -25--25--1,00
151-B-1-118
1118 2)12501610 12 - 42 -25--25--1,70
151-B-1-125
155112001125 2)13201610 12 - 42 -25--25--1,50
151-B-1-132
1132 2)13901610 12 - 42 -25--25--1,80
151-B-1-140
15511400114014701610 12 - 42 -25--25--2,00
151-B-1-150
115015701610 12 - 42 -25--25--2,40
151-B-1-160
15511600116016701610 12 - 42 -25--25--2,82
151-B-1-170
117017701610 12 - 42 -25--25--2,37
151-B-1-180
15511800118018761610 12 - 42 1525132-25-903,40
151-B-1-190
119019772012 12 - 50 15251473,5323,51043,70
151-B-1-200
15512000120020772012 12 - 50 15251573,5323,51042,90
151-B-1-212
121221972012 12 - 50 15251693,5323,51044,50
151-B-1-224
15512200122423172012 12 - 50 15251813,5323,51045,0
151-B-1-236
123624372012 12 - 50 15251933,5323,51045,5
151-B-1-250
15512500125025772012 12 - 50 20252073,5323,51044,5
151-B-1-280
15512800128028772012 12 - 50 20252373,5323,51046,4
151-B-1-300
130030772012 12 - 50 20252583,5323,51048,0
151-B-1-315
131532272012 12 - 50 20252723,5323,51048,0


zur Gruppe


Impressum AGB Hilfe Datenschutzerklärung Index


MÄDLER on Facebook Facebook MÄDLER on Youtube YouTube MÄDLER on Twitter Twitter MÄDLER on Instagram Instagram MÄDLER on Xingk Xing MÄDLER on Linkedin LinkedIn